Lò Hơi vs Lò Dầu Tải Nhiệt: Giải Bài Toán Thực Tế Cho Nhà Máy Vừa và Nhỏ
Việc lựa chọn hệ thống nhiệt trong các nhà máy vừa và nhỏ thường vấp[...]
Th10
Hiệu Suất Lò Hơi Có Thực Sự Quan Trọng? – Bài Toán Kinh Tế Cho Doanh Nghiệp Sử Dụng Biomass
Khi đầu tư một hệ thống lò hơi, nhiều doanh nghiệp thường chỉ chú trọng[...]
Th10
Quy Trình Xả Đáy Kính Thuỷ Lò hơi
1. Giới thiệu Để vận hành lò hơi công nghiệp (ống nước và ống lửa)[...]
Th10
Tại Sao Lò Hơi Thường Bị Thủng Ống Ngay Sau Khi Tẩy Rửa?
Hiện tượng lò hơi bị thủng ống ngay sau khi tẩy rửa là một vấn[...]
Th10
Bình Khử Khí (Deaerator) – Giải thích Kỹ thuật
Bình Khử Khí là gì? Bình khử khí (Deaerator) là bình chứa nước cấp có[...]
Th10
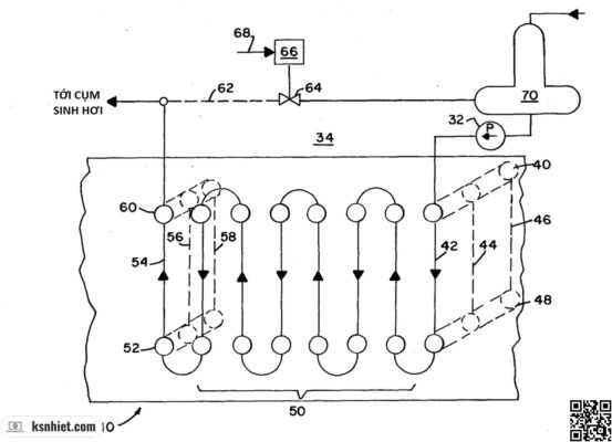
Giải Pháp Tuần Hoàn Bộ Hâm Nước: Ổn Định Lò Hơi Công Nghiệp Ở Tải Thấp
Trong các bộ hâm nước, nước cấp chảy theo kiểu zíc zắc qua các mặt[...]
Th10
Có Nên Bỏ Bộ Hâm Nước Ra Khỏi Hệ Thống Lò Hơi Công Nghiệp?
Trong vận hành công nghiệp, hiệu suất năng lượng và an toàn thiết bị luôn[...]
Th10
Quá Trình Cháy Trong Lò Hơi
Nhiệt lượng giải phóng từ quá trình cháy là nguồn cung cấp nhiệt chính cho[...]
Th9
Ứng dụng Kỹ thuật của Lò Hơi trong Sản xuất Bê tông Đúc sẵn
Lò hơi công nghiệp đóng vai trò thiết yếu trong ngành sản xuất bê tông[...]
Th9
Vai Trò Then Chốt Của Lò Hơi Trong Quy Trình Sản Xuất Eps
Expanded Polystyrene (EPS) – hay còn gọi là xốp EPS – là vật liệu cách[...]
Th9
Bộ Tích Hơi – “Bình Ắc-quy” Cho Hệ Thống Hơi Công Nghiệp
Bạn đã bao giờ gặp tình huống nhu cầu hơi của nhà máy đột ngột[...]
Th9
Lò Hơi Hỗn Hợp (Combination Boiler) là gì?
Lò hơi hỗn hợp (combination boiler) là một loại lò hơi kết hợp các đặc[...]
Th9
Nên Chọn Lọc Bụi Túi Vải Hay Tĩnh Điện Cho Lò Hơi Công Nghiệp Đốt Biomass?
Tóm tắt nhanh Bảng so sánh chi tiết Tiêu chí so sánh Lọc bụi túi[...]
Th9
Loại bỏ Nước ngưng tụ từ Khí nén
Các loại Bẫy khí (Air Traps) Ở một số khu vực, trong những thời điểm[...]
Th9
Có nên lắp Thanh Xoắn Ốc cho Ống Khói? (Helical Strakes)
Chắc hẳn bạn đã từng thấy những chiếc ống khói cao, và đôi khi trên[...]
Th9
Bảng thông số kỹ thuật Khớp nối xích
Tải file excel về để tiện tra cứu. Mã hiệu Phạm vi trục Lỗ dẫn[...]
Th9
Bộ Tách Nước và Vai Trò của Chúng trong Hệ Thống Hơi
Trong nhiều quy trình sử dụng hơi, việc cung cấp hơi càng khô càng tốt[...]
Th9
Thu Hồi Nước Ngưng và Khi Nào Sử Dụng Bơm Nước Ngưng
Việc vận chuyển và thu hồi nước ngưng để tái sử dụng luôn đòi hỏi[...]
Th8
